Instructions:
Roll the mouse over the number in the circle for the part number. Click on the circle for more information on that part.
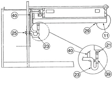
Humidifier Assemblies
Click to view Options
Safety Sensor
Click to view Pic
Swivel Hose Adapter
Click to view Pic
Nylon Hose Adapter
Click to view Pic
Humidifier Trap Rubber Drain
Click to view Pic
Humidifier Hose
Click to view Pic
Tee Barb 3/4x3/4x3/4
Click to view Pic