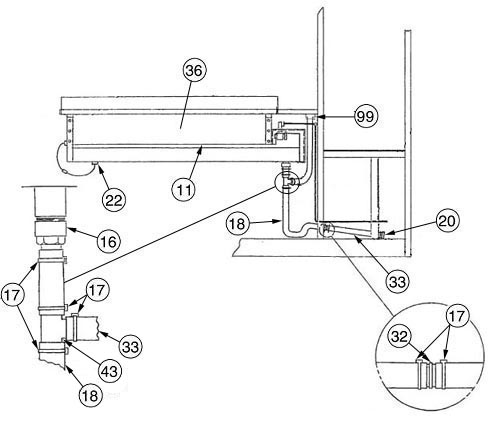
Infrared Section w/o Condensate Pump
Infrared Section with Condensate Pump
Instructions:
Roll the mouse over the number in the circle for the part number. Click on the circle for more information on that part.
Wire Clamp
Click to view Pic
Drain Trap Hose
Click to view Pic
Infrared Humidifier Bulb
Assemblies
Click to view Assy
Swivel Adapater
Click to view Pic
Safety Sensors
Click to view Pic
Staight Drain Hose
Click to view Pic
Nylon Union
Click to view Pic
Humidifier Duct
Click to view Pic
Nylon Hose Adapter
Click to view Pic
Hose Clamp
Click to view Pic
Tee Barb
Click to view Pic